ปั๊มท่อแนวตั้งหลายขั้นตอน GDL ช่วยให้ถ่ายโอนของเหลวได้อย่างมีประสิทธิภาพสูง ซึ่งเหมาะอย่างยิ่งสำหรับการเพิ่มแรงดันในระบบจ่ายน้ำและระบบอุตสาหกรรม
หมายเลขสินค้า :
GDLสั่งซื้อ (ขั้นต่ำ) :
1การชำระเงิน :
Alipay PayPal westernunion L/C T/Tแหล่งกำเนิดสินค้า :
Chinaสี :
Customizedท่าเรือขนส่ง :
shanghai shenzhen guangzhouระยะเวลาดำเนินการ :
please contact 504893184@qq.com or CP +8613696510409บรรจุุภัณฑ์ :
Customizedวัสดุ :
Stainless Steelอุณหภูมิการทำงาน :
≤100℃แรงดันการทำงาน :
≤1.6MPaปั๊มท่อแนวตั้งหลายขั้นตอน
ปั๊มสูบจ่ายของเหลวแรงดันสูงในท่อ GDL Vertical Multistage Pipeline Pump เป็นปั๊มขนาดกะทัดรัดและมีประสิทธิภาพ เหมาะสำหรับระบบจ่ายน้ำในหม้อไอน้ำ ระบบหมุนเวียนน้ำอุตสาหกรรม และระบบจ่ายน้ำ ด้วยใบพัดแบบหลายใบพัดที่รับประกันประสิทธิภาพการทำงานที่คงที่ มีขนาดเล็ก แข็งแรงทนทาน และบำรุงรักษาง่าย
ข้อดีของผลิตภัณฑ์
ปั๊มรุ่นใหม่ล่าสุดนี้มีขนาดเล็ก ประสิทธิภาพที่เชื่อถือได้ ติดตั้งง่าย และประหยัดพลังงาน ซีลเพลาใช้ซีลเชิงกลที่ทนทานต่อการสึกหรอ เพื่อลดการรั่วไหลและอายุการใช้งานที่ยาวนานขึ้น ตัวเรือนทำจากสเตนเลสสตีล 1Cr18Ni9Ti คุณภาพสูง แรงตามแนวแกนถูกควบคุมโดยสมดุลไฮดรอลิก ซึ่งรับประกันการทำงานที่เงียบและราบรื่น สามารถติดตั้งเข้ากับส่วนท่อแนวนอนได้อย่างง่ายดาย เนื่องจากสภาพการติดตั้งดีกว่าปั๊มแบบ DL ปั๊มนี้ตอบสนองความต้องการด้านการดับเพลิง การระบายน้ำ และการจ่ายน้ำของเหมืองลึก อาคารสูง และการใช้งานที่เกี่ยวข้องได้อย่างสมบูรณ์ ปั๊มนี้เป็นตัวเลือกที่ดีที่สุดสำหรับหลากหลายภาคส่วน เนื่องจากเหมาะสำหรับการเคลื่อนย้ายน้ำร้อนหรือน้ำเย็น หรือตัวกลางทั่วไปที่มีคุณสมบัติทางเคมีและฟิสิกส์เทียบเท่ากับน้ำ อุณหภูมิและแรงดันในการทำงานคือ T ≤ 100°C และ PN ≤ 1.6 MPa (16 กก./ตร.ซม.)
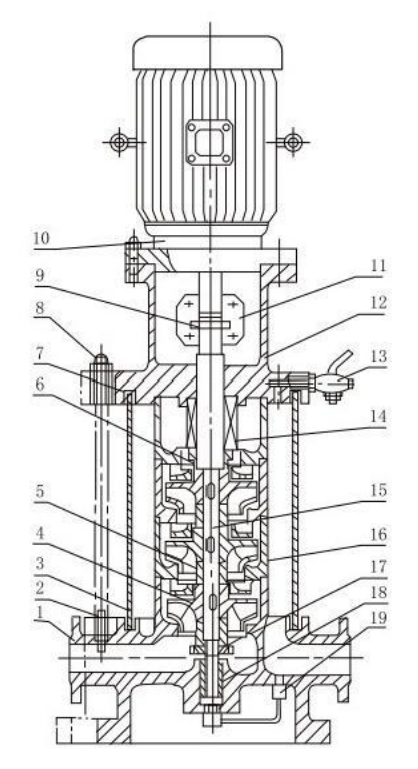
แผนผังโครงสร้าง

| No | 1 | 2 | 3 | 4 | 5 | 6 | 7 | 8 | 9 | 10 | 11 | 12 | 13 | 14 | 15 | 16 | 17 | 18 | 19 |
| ส่วนประกอบ | ตัวปั๊ม | สลักเกลียว | กระบอกสูบด้านนอก | ใบพัด | บูชใบพัด | ปลอกเพลา | ปะเก็น | ถั่ว | เข็มหมุด | มอเตอร์ | การเชื่อมต่อ | ที่นั่งเชื่อมต่อ | หัวฉีด | ซีลเชิงกล | เพลา | ส่วนกลาง | น็อตปลอกเพลา | แบริ่ง | ชุดประกอบท่อส่งกลับ |