ปั๊มแนวตั้งแบบไม่หยุดนิ่ง LW ช่วยให้การจัดการน้ำเสียที่มีของแข็งมีประสิทธิภาพ ไม่ต้องกังวลเรื่องน้ำเสียและการใช้งานในอุตสาหกรรม การออกแบบแนวตั้งช่วยประหยัดพื้นที่และหลีกเลี่ยงสิ่งกีดขวาง
หมายเลขสินค้า :
LWสั่งซื้อ (ขั้นต่ำ) :
1การชำระเงิน :
Alipay PayPal westernunion T/T L/Cแหล่งกำเนิดสินค้า :
Chinaสี :
Customizedท่าเรือขนส่ง :
shanghai shenzhen guangzhouระยะเวลาดำเนินการ :
please contact 504893184@qq.com or CP +8613696510409บรรจุุภัณฑ์ :
Customizedวัสดุ :
Cast ironปั๊มน้ำเสียแนวตั้งแบบไม่อุดตัน
บริษัทของเราได้สร้างสรรค์ผลิตภัณฑ์หลักสามกลุ่มผลิตภัณฑ์ ซึ่งประกอบขึ้นเป็นปั๊มน้ำเสียแนวตั้งซีรีส์ LW (WL) ปั๊มเหล่านี้ได้รับการปรับปรุงให้เหมาะสมกับความต้องการของผู้ใช้และสถานการณ์การใช้งานที่หลากหลาย โดยอ้างอิงจากรุ่นไฮดรอลิกของปั๊มน้ำเสียแบบจุ่มซีรีส์ WQ (เดิมชื่อ QW) นับตั้งแต่เปิดตัว ซีรีส์ LW ก็เป็นที่รู้จักและได้รับการยกย่องอย่างกว้างขวางในด้านการออกแบบที่ล้ำสมัยและประสิทธิภาพที่เชื่อถือได้ในตลาด
การประยุกต์ใช้ผลิตภัณฑ์
สถานีระบายน้ำเสียในเขตที่อยู่อาศัย ระบบระบายน้ำในโรงบำบัดน้ำเสียในเขตเมือง สถานีระบายน้ำในระบบป้องกันภัยทางอากาศพลเรือน ระบบประปาในโรงบำบัดน้ำเสีย ระบบระบายน้ำเสียในโรงพยาบาลและโรงแรม สถานที่ก่อสร้างทางวิศวกรรมของเทศบาล อุปกรณ์สนับสนุนการทำเหมืองและการสำรวจ เครื่องย่อยก๊าซชีวภาพในชนบท และระบบชลประทานการเกษตร ล้วนเป็นการใช้งานที่เหมาะสม ผลิตภัณฑ์นี้เหมาะสำหรับการขนส่งน้ำสะอาด สารกัดกร่อน น้ำเสีย และขยะที่มีอนุภาคของแข็ง
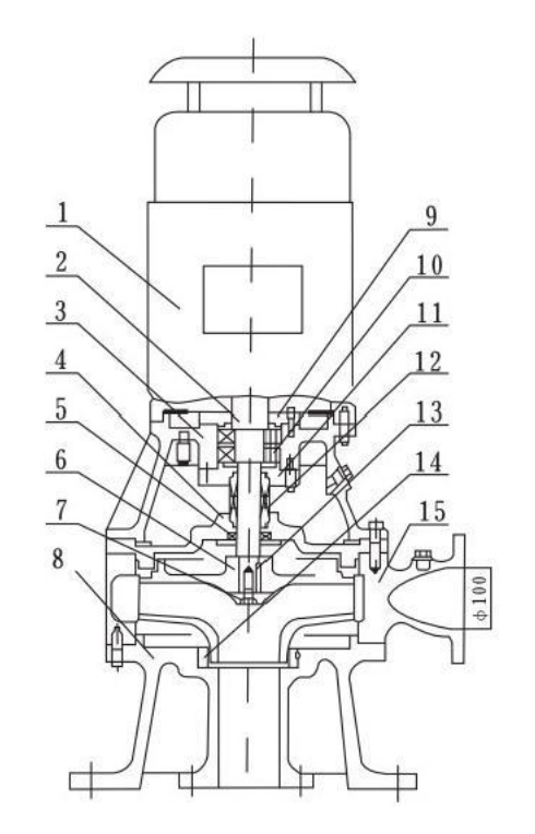
แผนผังโครงสร้าง

| 1 | มอเตอร์ |
| 2 | เพลาขยาย |
| 3 | ตลับลูกปืน |
| 4 | ฝาครอบปั๊ม |
| 5 | ซีลน้ำมัน |
| 6 | ใบพัด |
| 7 | น็อตใบพัด |
| 8 | ฐาน |
| 9 | ฝาครอบตลับลูกปืน |
| 10 | แบริ่ง |
| 11 | ซีลที่นั่งแบบกลไก |
| 12 | ซีลเชิงกล |
| 13 | สำคัญ |
| 14 | แหวนสึกหรอของตัวปั๊ม |
| 15 | ตัวปั๊ม |